
Apple’ın akıllı asistanı Siri için geliştirmeler devam ediyor. Apple’ın bugün ortaya çıkan patent başvurusu Siri’yi internetsiz kullanmayı mümkün kılacak.
Apple tarafından Siri için yapılan patent başvurusuyla ilgili detaylarda sanal asistanın çok konuşulacak bir özelliği ortaya çıktı. Patentte yer alan bilgilere göre Apple, ‘çevrimdışı kişisel asistan’ başlığı altında Siri’nin internetsiz kullanılması için çalışmalara başlamış.
Patentin başlığından anlaşılacağı üzere Apple, Siri’nin internete bağlı olmadan bazı komutları yerine getirmesini sağlayacak.
USPTO’nun yayınladığı patent başvurusunda da görüleceği üzere Apple, Eylül 2017’den beri bu özellikle ilgili çalışmalara devam ediyor. Söz konusu özelliğiyle beraber iOS cihazları daha da kullanışlı hale getirmeyi hedefleyen firma, bir yandan da müşterilerine daha iyi bir akıllı telefon deneyimi sunmaya çalışıyor.
Siri tamamen yenilenecek
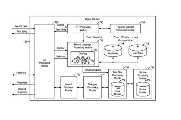
Shiftdelete’nin haberine göre Çevrimdışı kişisel asistan için Perşembe günü yayınlanan rapora göre, Apple kişisel sanal asistanının çalışma prensiplerini de baştan aşağıya değiştirecek. Daha önceden kişisel asistan, kullanıcılardan gelen bilgileri doğrudan Apple‘ın sunucularına aktarıyordu. Sonrasında ise sunuculardaki bilgileri kullanıcılara aktaran sanal asistan ne yazık ki internet olmadan işlem yapamıyordu.
Kullanıcıların bu konudaki isteğine kulak asan teknoloji devi, geliştirmiş olduğu yeni sistemle birlikte sanal asistanın sunuculara bağlanmadan yapay zeka yardımıyla komutları yerine getirmesine olanak sağlayacak. Söz konusu yenilik ile birlikte, Apple’ın sanal asistanı doğal dil işleme yoluyla komutları algılayabilecek.
İnternet bağlantınız olmasa bile, Apple‘ın sanal asistanı bu komutları yerine getirerek kullanıcılara kesintisiz bir şekilde hizmet vermeye devam edecek. Şimdilik yeni özelliğin ne zaman ve hangi modeller için kullanıma sunulacağı hakkında henüz resmi bir açıklama yapılmadı. Ancak, Apple‘a yakın kaynaklardan gelen bilgilere göre, söz konusu bu özelliğin ilerleyen aylarda resmi olarak gün yüzüne çıkartılması bekleniyor.










